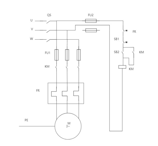
星三角降压启动电路图是指用电路元件符号表示电路连接,展现星三角降压器启动电路的图表。星三角降压启动电路图是人们为研究、工程规划的需要,用物理电学标准化的符号绘制的一种表示各元器件组成及器件关系的原理布局图,是解决电动机启动电流过大的常用方法之一。星三角降压启动电路图可进行电路辅助设计,提高工程师工作效率,使实物图更直观。
星三角降压启动电路图的制作方法很多,接下来我介绍一种简单的绘制方法,按照以下几个步骤,即可快速绘制出一幅高质量的星三角降压启动电路图。
第一步:下载“亿图图示”软件,或访问在线版亿图图示,启动软件后,准备绘图。
第二步:新建星三角降压启动电路图。在搜索框内输入“星三角降压启动电路图”进行查找。然后从例子库中,选择需要的模板,点击打开。

第三步:先点击画布中的星三角降压启动电路图,左侧有基本电路符号库,右侧可进行填充美化,更改颜色。

第四步:双击文本框,可修改星三角降压启动电路图里的字符。

第五步:完成星三角降压启动电路图的绘制后,可以点击右上角的保存、下载、打印、分享等按钮,对绘制好的星三角降压启动电路图作品进行存储。

以上就是绘制星三角降压启动电路图的步骤,赶紧来画一幅试试吧!

