贾乃亮双11总销售额超13.6亿元,工作室此前持股公司曾因偷漏税被罚
发布时间:2026-01-23 05:09
据媒体报道,今年“双11”,贾乃亮所属的遥望科技公布的数据显示,总销售额超13.6亿元,创下明星主播销售额的纪录。而在去年,贾乃亮的数据是3.2亿元。值得一提的是,今年“双11”期间,贾乃亮直播带货曾多次遭到“割韭菜”的质疑。对于日前引发热议的 “羽绒服比线下卖得贵”问题,贾乃亮视频回应称“我对我的机制有着绝对的信心”。
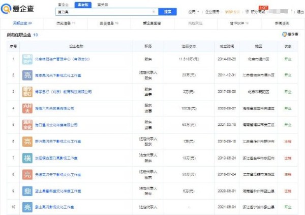
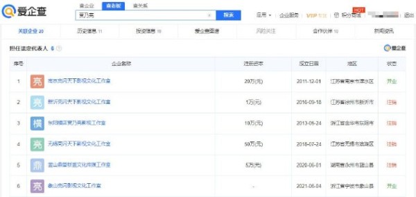
爱企查App显示,截至目前,贾乃亮名下共关联10家公司,其中6家为存续状态,包括南京亮闪天下影视文化工作室、象山亮闪影视文化工作室2家个人工作室,以及北京锦阳资产管理中心(有限合伙)、博学思行(北京)教育科技有限公司等,版图涉及文化传媒、资产管理、教育科技、贸易等领域。在上述为存续状态的企业中,贾乃亮担任2家企业的法定代表人;在3家公司均担任监事职务;并直接持有5家公司股份,其中,南京亮闪天下影视文化工作室、象山亮闪影视文化工作室均为贾乃亮个人独资企业。
值得一提的是,爱企查信息显示,贾乃亮名下南京亮闪天下工作室曾对外投资杭州万核网络科技有限公司,后者于2022年4月因违反税收征收管理法、未按规定申报纳税,被杭州市税务局罚款17万余元;至当年8月,南京亮闪工作室退出该公司股东行列。2022年10月,杭州万核网络科技有限公司经营状态变更为注销,注销原因为“决议解散”。
据过往媒体报道,彼时,贾乃亮就万核网络偷逃税一事曾回应称,其没有参与经营管理,今后也尽量远离投资。








网址:贾乃亮双11总销售额超13.6亿元,工作室此前持股公司曾因偷漏税被罚 https://mxgxt.com/news/view/1970124
相关内容
贾乃亮李小璐参股公司偷税!男方资本版图曝光,曾被传偷漏税2.6亿贾乃亮资本版图盘点 贾乃亮双11总销售额超13.6亿
贾乃亮参股公司偷税漏税被罚
贾乃亮双11总销售额超13.6亿,盘点其资本版图
贾乃亮李小璐同为偷税被罚公司股东——公司偷税对股东有什么影响吗?
贾乃亮双11总销售额超13.6亿 创明星主播销售额新纪录
贾乃亮合伙公司偷逃税,被罚17万,早前曾辟谣隐匿2.6亿佣金
贾乃亮偷税漏税2.6亿?工作室这样回应……
明星贾乃亮合伙公司偷逃税被罚 此前被曝隐匿2.6亿带货佣金:官方回应
阴阳合同、偷税漏税2.6亿?贾乃亮工作室声明:假的!

